PHAO ĐIỆN CHỐNG CẠN, CHỐNG TRÀN M15 KWS-3M VUÔNG
Công Dụng: Dùng để ngắt điện cho máy bơm khi bể đã đầy hoặc đã cạn nước.
Giới thiệu:
- Bạn mất nhiều thời gian để đợi bơm nước đầy và tắt motor.
- Bạn muốn có một hệ thống bơm nước tự động, nước trong hồ đầy sẽ tự động tắt motor, nước trong hồ cạn sẽ tự mở điện motor bơm nước. Công tắc phao KWS-2M là giải pháp cho bạn. (Có các loại phao: Cáp 2 m; Cáp 3 m; Cáp 5 m).
Thông số phao điện kín nước:
- Điện áp 250V AC / 50HZ
- Dòng chịu tải max của tiếp điểm công tắc phao 15A : Tải điện trở (đèn dây tóc). 8A: Tải điện cảm (motor).
- Công suất motor : 2HP hoặc 1500 W
- Nhiệt vận hàng tối đa: 80 độ
- Cấp độ bảo vệ (kín nước và bụi): IP 68
- Dây cáp 2, 3, 5 mét.
(Khi bể cạn nước phao sẽ đóng điện cho bơm hoạt động, khi bể đầy nước phao sẽ ngắt điện để tắt bơm)
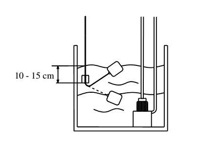
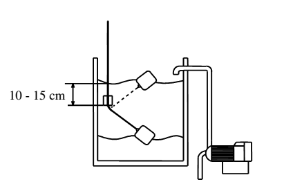
HƯỚNG DẪN SỬ DỤNG PHAO KÍN NƯỚC
Cách lắp đặt quả cân:
Dùng vật cứng tháo rời vòng cung phía đáy quả cân (hình vẽ 1). Sau đó gắn vòng cung vừa tháo vào sợi cáp tại vị trí thích hợp muốn cân chỉnh mực nước. Sau đó luồn quả cân vào sợi cáp, quả cân được vòng cung này giữ cố định (Hình vẽ 2).
- Thả phao vào bể chứa nước (quả cân cách mặt nước khoảng 10 – 15 cm).
- Nếu sử dụng phao điện cho máy bơn 3 pha hoặc máy công suất lớn thì bạn nên sử dụng thêm công tắc tơ (khởi động từ).

Thông số kỹ thuật:
- Công suất chịu tải : 2 HP.
- Điện áp làm việc : 250V ~.
- Nhiệt độ tối đa cho phép : 50 °C.
- Nhiệt độ bảo quản : -10 °C đến +60 °C.
- Cấp độ bảo vệ : IP 68.
Chú ý: Đối với bơm công suất lớn phải sử dụng thêm khởi động từ thích hợp.
Đấu nối phao điện cho ứng dụng chống cạn và chống ngập:
Điều khiển hút cạn:
- Sử dụng dây màu nâu và dây màu đen.
- Khi đầu nước phao sẽ đóng điện cho phép bơm hoạt động.
- Khi hết nước phao sẽ ngắt điện - bơm ngưng hoạt động.


Điều khiển bơm cấp đầy:
- Sử dụng dây đen và xanh.
- Khi hết nước phao sẽ đóng điện cho bơm hoạt động.
- Khi đầy nước phao sẽ ngắt điện – Bơm ngưng hoạt động.




